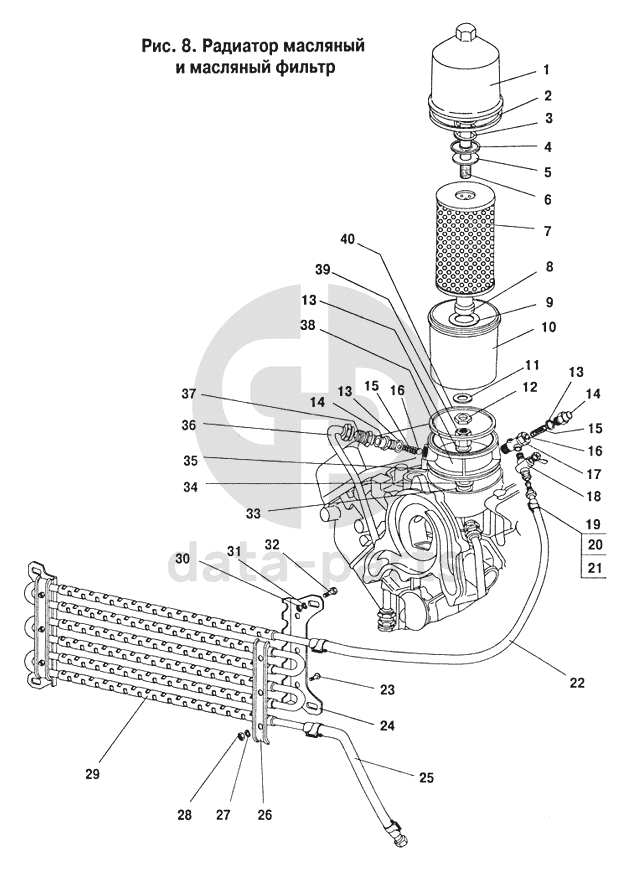
Радиатор масляный и масляный фильтр ПАЗ-32053

1
53-11-1017016-01
Корпус фильтра верхняя часть
Кол-во
1
?
2
53-11-1017065
Прокладка
Кол-во
1
?
3
13-3402076
Пружина фильтрующего элемента
Кол-во
1
?
4
24-1017062-10
Кольцо уплотнительное
Кол-во
1
?
5
24-1017099-01
Шайба опорная
Кол-во
1
?
6
53-11-1017031-10
Стержень фильтра
Кол-во
1
?
7
53-11-1017140
Элемент фильтрующий
Кол-во
1
?
8
53-11-1017317
Пробка масляного фильтра
Кол-во
1
?
9
53-11-1017142
Прокладка фильтрующего элемента
Кол-во
1
?
10
53-11-1017017
Корпус фильтра - нижняя часть
Кол-во
1
?
11
252018-П29
Шайба 18
Кол-во
1
?
12
250638-П29
Гайка М18х1,5-6Н ОСТ 37.001.124-93
Кол-во
1
?
13
293469-П
Шайба диам 18
Кол-во
3
?
14
296499-П29
Пробка
Кол-во
2
?
15
202-6092
Пружина клапана
Кол-во
2
?
16
Б11.906-200
Шарик
Кол-во
2
?
17
53-1013097
Корпус клапана
Кол-во
1
?
18
ПП6-1-0
Краник масляного радиатора
Кол-во
1
?
19
672-6505059
Пряжка хомутика
Кол-во
4
?
20
652-3552058
Лента стяжная хомутиков для шлангов
Кол-во
4
?
21
297575-П29
Шплинт 5,4х22,4
Кол-во
4
?
22
3205-1013101
Шланг
Кол-во
1
?
23
210359-П29
Болт М6-6gх25
Кол-во
6
?
24
66-1013010-16
Кронштейн нижний
Кол-во
2
?
25
672-1013101-Б
Шланг масляного радиатора впускной
Кол-во
1
?
26
3205-1013062
Кронштейн верхний
Кол-во
2
?
27
252154-П2
Шайба пружинная 6
Кол-во
6
?
28
250508-П-29
Гайка М6-6Н
Кол-во
6
?
29
3205-1013015-10
Радиатор масляный
Кол-во
1
?
30
250510-П29
Гайка М8
Кол-во
4
?
31
252155-П29
Шайба 8
Кол-во
4
?
32
201452-П29
Болт М8х12
Кол-во
4
?
33
53-11-1017062
Кольцо уплотнительное
Кол-во
1
?
34
24-1017033
Шайба
Кол-во
1
?
35
53-11-1017329
Кольцо уплотнительное
Кол-во
1
?
36
53-11-1017085-20
Трубка выпускная
Кол-во
1
?
37
53-11-1017392-10
Штуцер
Кол-во
1
?
38
53-11-1017039
Проставка фильтра
Кол-во
1
?
39
53-11-1017391
Гайка
Кол-во
1
?
40
53-11-1017064
Прокладка фильтра
Кол-во
1
?
None
3205-1013010-01
Радиатор масляный в сборе
Кол-во
0
?
None
53-11-1017010-11
Фильтр масляный полнопоточный
Кол-во
0
?
Есть готовая заявка? Отправьте ее нам!
Если у вас уже есть список необходимых запчастей, загрузите файл с ним или укажите артикулы и названия запчастей в поле Комментарий, а также оставьте свои контактные данные. В течение рабочего дня мы оценим вашу заявку и отправим вам коммерческое предложение.
Отдел продаж

Если у вас уже есть готовая заявка на запасные части, то просто прикрепите файл с ней либо в поле «Комментарии» напишите артикулы и названия необходимых вам запчастей и оставьте контактные данные.

В течение рабочего дня мы выполним расчёт по вашей заявке и направим вам коммерческое предложение.

Только один файл.
Ограничение 128 МБ.
Допустимые типы: txt, rtf, pdf, doc, docx, odt, ppt, pptx, odp, xls, xlsx, ods.
пример: 89511234567 или +79511324567
Отправляя форму вы подтверждаете согласие с политикой обработки персональных данных.