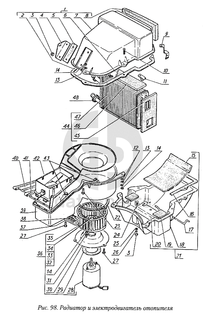
Радиатор и электродвигатель отопителя ГАЗ-31029

1
3102-8101099
Крышка кожуха радиатора отопителя в сборе
Кол-во
1
?
2
3102-8101119
Прокладка крышки
Кол-во
1
?
3
250508-П29
Гайка М6-6Н ОСТ 37.001.124-93
Кол-во
2
?
4
3102-8101112
Кронштейн кожуха
Кол-во
1
?
5
3102-8101115
Прокладка кронштейна
Кол-во
1
?
6
3102-8101154
Держатель отопителя в сборе
Кол-во
1
?
7
3102-8101101-01
Крышка кожуха
Кол-во
1
?
8
3102-8101116
Уплотнитель крышки
Кол-во
1
?
9
21-5304198
Зажим оболочки
Кол-во
6
?
10
220086-П29
Винт М5-6gх30 ОСТ 37.001.127-81
Кол-во
2
?
11
51-3724093
Скоба крепления пучка проводов
Кол-во
1
?
12
293229-П
Шайба 6
Кол-во
4
?
13
252003-П29
Шайба 5 ОСТ 37.001.144-96
Кол-во
4
?
В наличии
3 ₽
14
250464-П29
Гайка М5-6Н ОСТ 37.001.124-93
Кол-во
5
?
15
3102-8119028
Заслонка короба воздухозаборника с уплотнителем в сборе
Кол-во
1
?
16
3102-8101114
Прокладка кожуха
Кол-во
1
?
17
3102-8119050
Ось заслонки короба
Кол-во
1
?
18
3102-8101100-01
Кожух радиатора
Кол-во
1
?
19
3102-8101118
Прокладка кожуха радиатора нижняя
Кол-во
2
?
20
3102-8101122
Направляющая
Кол-во
1
?
21
3102-8101098
Кожух радиатора отопителя в сборе
Кол-во
1
?
22
24-8102240
Прокладка диска электродвигателя
Кол-во
1
?
23
290410-П29
Болт М5-6gх20
Кол-во
3
?
24
210358-П29
Болт М6-6gх20 ОСТ 37.001.106-75
Кол-во
1
?
25
252004-П29
Шайба 6 ОСТ 37.001.144-96
Кол-во
1
?
26
252154-П2
Шайба 6Л ОСТ 37.001.115-75
Кол-во
1
?
27
290509-П29
Болт М6-6gх25
Кол-во
3
?
28
19.3730000
Электродвигатель в сборе
Кол-во
1
?
29
21-8102232
Прокладка электродвигателя вентилятора
Кол-во
1
?
30
3102-8101186
Диск электродвигателя
Кол-во
1
?
31
45 9811 1254
Шайба 5
Кол-во
2
?
32
251086-П29
Гайка М5-6Н ОСТ 37.001.112-91
Кол-во
1
?
33
252173-П29
Шайба 2-5 ОСТ 37.001.145-75
Кол-во
1
?
34
242471-П29
Винт М5-6gх12 ОСТ 37.001.132-82
Кол-во
1
?
35
31029-8101190
Ротор электродвигателя
Кол-во
1
?
36
31029-8101178
Электродвигатель с ротором
Кол-во
1
?
37
11.3729000
Сопротивление
Кол-во
1
?
38
24-8102102
Прокладка сопротивления
Кол-во
1
?
39
3102-8101332-01
Кожух отопителя
Кол-во
1
?
40
3102-8101120
Заслонка
Кол-во
1
?
41
3102-8101686
Ось заслонки в сборе
Кол-во
1
?
42
31029-8101322
Основание кожуха радиатора в сборе
Кол-во
1
?
43
292685-П2
Гайка М6
Кол-во
3
?
44
3102-8101056-02
Радиатор с прокладками
Кол-во
1
?
45
3102-8101161
Прокладка боковая
Кол-во
2
?
46
3102-8101160
Прокладка радиатора отопителя верхняя
Кол-во
2
?
47
3102-8101060-03
Радиатор
Кол-во
1
?
48
24-8101170
Уплотнитель трубки
Кол-во
2
?
Есть готовая заявка? Отправьте ее нам!
Если у вас уже есть список необходимых запчастей, загрузите файл с ним или укажите артикулы и названия запчастей в поле Комментарий, а также оставьте свои контактные данные. В течение рабочего дня мы оценим вашу заявку и отправим вам коммерческое предложение.
Отдел продаж

Если у вас уже есть готовая заявка на запасные части, то просто прикрепите файл с ней либо в поле «Комментарии» напишите артикулы и названия необходимых вам запчастей и оставьте контактные данные.

В течение рабочего дня мы выполним расчёт по вашей заявке и направим вам коммерческое предложение.

Только один файл.
Ограничение 128 МБ.
Допустимые типы: txt, rtf, pdf, doc, docx, odt, ppt, pptx, odp, xls, xlsx, ods.
пример: 89511234567 или +79511324567
Отправляя форму вы подтверждаете согласие с политикой обработки персональных данных.