Дверь ГАЗ-51 (63, 63А)

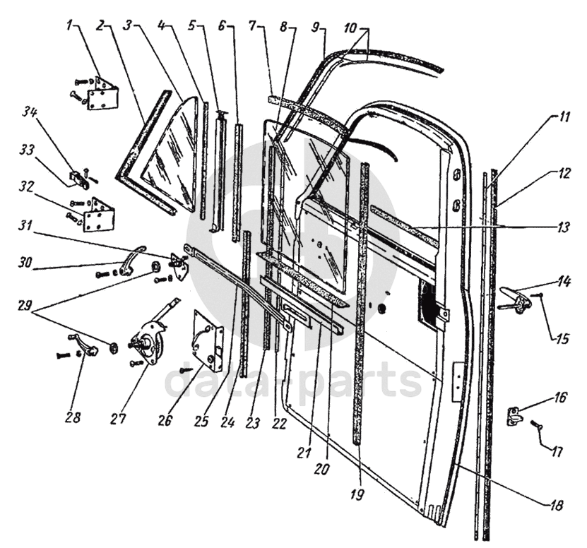
1
81Д-6106012
Петля двери верхняя правая в сборе
Кол-во
1
?
2
81Б-6103122-Б
Уплотнитель неподвижного стекла окна двери
Кол-во
2
?
3
81Б-6103052-Б1
Стекло окна двери неподвижное
Кол-во
2
?
3
81Б-6103052-Б
Стекло окна двери неподвижное
Кол-во
2
?
4
81Б-6103126
Желобок неподвижного стекла окна двери на стойке
Кол-во
2
?
5
81Б-6103234-Б
Стойка опускного стекла двери с желобком правая в сборе
Кол-во
1
?
6
81Д-6103282
Желобок опускного стекла двери передний верхний
Кол-во
2
?
7
81Б-6103276
Желобок опускного стекла двери верхний
Кол-во
2
?
8
91Б-6103216
Стекло окна двери опускное
Кол-во
2
?
8
81Б-6103216-А
Стекло окна двери опускное
Кол-во
2
?
9
81Б-6107062
Кант проема двери защитный верхний
Кол-во
2
?
10
64-416804
Держатель защитного канта проема двери верхний
Кол-во
4
?
11
81Д-6107046
Держатель защитного канта проема двери задний
Кол-во
4
?
12
81Б-6107064
Кант проема двери защитный задний
Кол-во
2
?
13
81Д-6103268
Уплотнитель опускного стекла двери наружный
Кол-во
2
?
14
81Д-6105150
Ручка двери наружная в сборе
Кол-во
2
?
15
248468-П8
Шуруп 4х26 мм крепления наружной ручки двери
Кол-во
2
?
16
М-702550-В
Шип фиксатора двери
Кол-во
2
?
17
248051-П8
Шуруп ф6х30 мм крепления гнезда направляющего шипа двери
Кол-во
4
?
18
81Б-6107058
Уплотнитель двери в сборе
Кол-во
2
?
19
81Б-6103254
Желобок опускного стекла двери задний
Кол-во
2
?
20
30-6103218
Прокладка опускного стекла передней двери в обойме толстая
Кол-во
2
?
20
30-6103218-Б
Прокладка опускного стекла передней двери в обойме тонкая
Кол-во
2
?
21
81Д-6103220
Обойма и кулиса опускного стекла двери правая в сборе
Кол-во
1
?
22
67-416804
Держатель переднего защитного канта проема двери
Кол-во
2
?
23
81Б-6107024-Б
Кант проема двери защитный передний
Кол-во
2
?
24
81Д-6103284
Желобок опускного стекла двери передний нижний в сборе
Кол-во
2
?
25
81Б-6105102
Тяга привода замка двери правая
Кол-во
1
?
26
81Б-6105012
Замок двери правый в сборе
Кол-во
1
?
27
81-6104012
Стеклоподъемник двери правый в сборе
Кол-во
1
?
28
81-6104064
Ручка стеклоподъемника в сборе
Кол-во
2
?
29
81-6105184
Подкладка ручки стеклоподъемника
Кол-во
2
?
30
81-6105182
Ручка стопора салазок переднего сиденья
Кол-во
2
?
31
81Б-6105082
Привод замка двери правый в сборе
Кол-во
1
?
32
81Д-6106026
Петля двери нижняя правая в сборе
Кол-во
1
?
33
81-6106082
Ограничитель двери в сборе
Кол-во
2
?
34
81-6106086
Буфер ограничителя двери
Кол-во
2
?
Есть готовая заявка? Отправьте ее нам!
Если у вас уже есть список необходимых запчастей, загрузите файл с ним или укажите артикулы и названия запчастей в поле Комментарий, а также оставьте свои контактные данные. В течение рабочего дня мы оценим вашу заявку и отправим вам коммерческое предложение.
Отдел продаж

Если у вас уже есть готовая заявка на запасные части, то просто прикрепите файл с ней либо в поле «Комментарии» напишите артикулы и названия необходимых вам запчастей и оставьте контактные данные.

В течение рабочего дня мы выполним расчёт по вашей заявке и направим вам коммерческое предложение.

Только один файл.
Ограничение 128 МБ.
Допустимые типы: txt, rtf, pdf, doc, docx, odt, ppt, pptx, odp, xls, xlsx, ods.
пример: 89511234567 или +79511324567
Отправляя форму вы подтверждаете согласие с политикой обработки персональных данных.