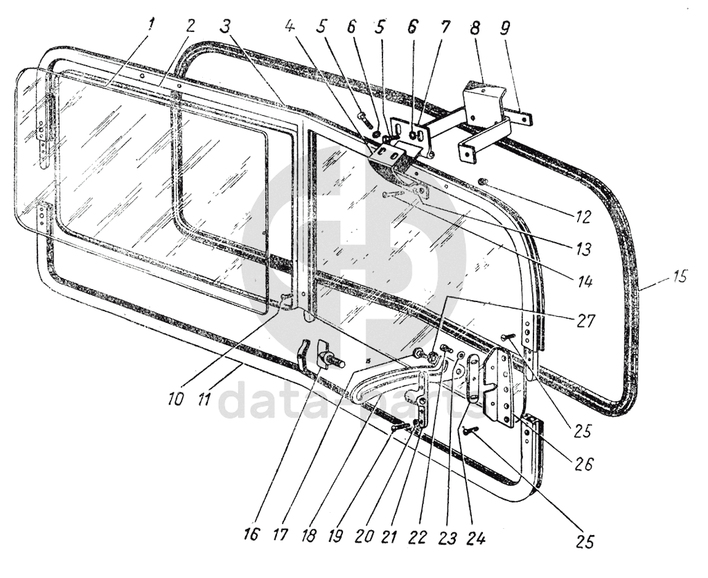
Ветровое окно ГАЗ-51 (63, 93)

%
1
81-5206010
Стекло ветрового окна (триплекс)
Кол-во
2
?
1
81-5206010-А
Стекло ветрового окна (сталинит)
Кол-во
2
?
2
81-5206020
Прокладка стекла ветрового окна толстая
Кол-во
2
?
2
81-5206020-Б
Прокладка стекла ветрового окна тонкая
Кол-во
2
?
3
81-5201022
Рама ветрового окна, верхняя часть в сборе
Кол-во
1
?
4
81-5202022
Кронштейн рамы ветрового окна правый
Кол-во
1
?
5
201418-П8
Болт М6-6gх16
Кол-во
4
?
5
201416-П8
Болт М6-6gх12
Кол-во
4
?
6
252004-П8
Шайба 6
Кол-во
4
?
7
81-5202012
Петля ветрового окна в сборе
Кол-во
2
?
8
81Б-5202032
Кронштейн петли ветрового окна в сборе правый
Кол-во
1
?
9
81-5202014
Планка крепления петли ветрового окна
Кол-во
2
?
10
220051-П8
Винт М4х10
Кол-во
1
?
11
81-5201014
Рама ветрового окна, нижняя часть в сборе
Кол-во
1
?
12
292679-П8
Гайка М5
Кол-во
4
?
13
293196-П
Шайба 5,5 ГОСТ 11371-78
Кол-во
4
?
14
223044-П8
Винт М5х25
Кол-во
4
?
15
1-5206050
Уплотнитель ветрового окна
Кол-во
1
?
16
81-5204032
Барашек кулисы ветрового окна
Кол-во
2
?
17
81-5204014
Винт крепления кулисы ветрового окна
Кол-во
2
?
18
81-5204012
Кулиса ветрового окна
Кол-во
2
?
19
224600-П8
Винт М5х16
Кол-во
8
?
20
252133-П2
Шайба 5Т ОСТ 37.001.115-75
Кол-во
8
?
21
81-5204036
Кронштейн барашка кулисы ветрового окна
Кол-во
2
?
22
224597-П8
Винт М5х0,8х10
Кол-во
4
?
23
252003-П2
Шайба диам 5,5 плоская
Кол-во
4
?
24
81-5204018
Кронштейн кулисы ветрового окна
Кол-во
2
?
25
221552-П8
Винт М4x0,7х12 крепления бокового вкладыша рамы ветрового окна
Кол-во
0
?
25
223014-П8
Винт М4х0,7х16 крепления угольника
Кол-во
8
?
26
81-5204022-В
Угольник кронштейна кулисы ветрового окна правый
Кол-во
1
?
27
293334-П2
Шайба диаметром 11
Кол-во
2
?
Есть готовая заявка? Отправьте ее нам!
Если у вас уже есть список необходимых запчастей, загрузите файл с ним или укажите артикулы и названия запчастей в поле Комментарий, а также оставьте свои контактные данные. В течение рабочего дня мы оценим вашу заявку и отправим вам коммерческое предложение.
Отдел продаж

Если у вас уже есть готовая заявка на запасные части, то просто прикрепите файл с ней либо в поле «Комментарии» напишите артикулы и названия необходимых вам запчастей и оставьте контактные данные.

В течение рабочего дня мы выполним расчёт по вашей заявке и направим вам коммерческое предложение.

Только один файл.
Ограничение 128 МБ.
Допустимые типы: txt, rtf, pdf, doc, docx, odt, ppt, pptx, odp, xls, xlsx, ods.
пример: 89511234567 или +79511324567
Отправляя форму вы подтверждаете согласие с политикой обработки персональных данных.